1C3NX-12-06

Metric female swivel 24°/60°
Verfügbarkeit: Bestellartikel
Artikelnummer: 1015773
Lieferzeit: 10 Tage
14,85 €
exklusive Versand
Produktspezifikation
AttributbezeichnungAttributwert
Gewindemass Anschluss (mm)18x1.5
Schlauch I.D. (mm)9.5
Gewindemass Anschluss (Zoll)
Anschluss 1 TypHose
IndustrieIndustrial Manufacturing Equipment
MarkeParker
Schlauch-Nenninnendurchmesser10
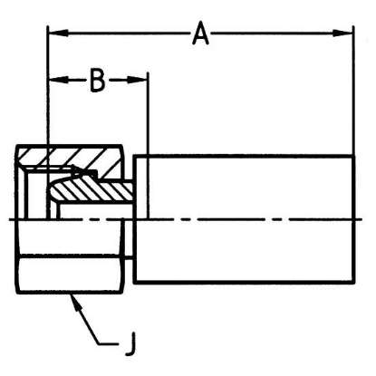
Sechskantgröße22 mm (see Drawing legend J)
GehäusematerialGalvanised steel
Fitting Length48 mm (see Drawing legend A)
Drop Lengthn/a
DivisionPolymer Hose Division Europe
TechnologieFluid & Gas Handling
KonfigurationHose to Port
BeschichtungChromium 6 Free-plated
ProdukttypUltra-High Pressure Fittings
FormStraight
AnschlusstypDKR
Erfüllte SpezifikationenBS 5200-A
Rohraußendurchmesser12 mm
Größe Anschluss 2M18x1.5
Connection Length19 mm (see Drawing legend B)