10CNX-16-08

Metric female swivel 24° with O-ring
Verfügbarkeit: Bestellartikel
Artikelnummer: 1012919
Lieferzeit: 47 Tage
73,77 €
exklusive Versand
Produktspezifikation
AttributbezeichnungAttributwert
Gewindemass Anschluss (mm)24x1.5
Schlauch I.D. (mm)12.7
Gewindemass Anschluss (Zoll)
Schlauch-Nenninnendurchmesser12
IndustrieIndustrial Manufacturing Equipment
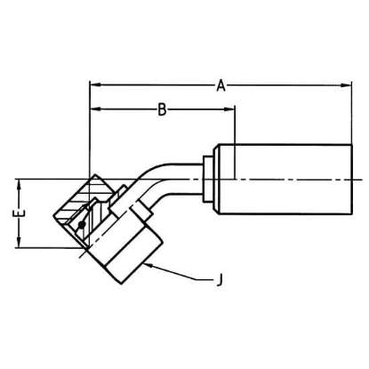
Drop Length23 mm (see drawing Legend E)
GehäusematerialGalvanised steel
MarkeParker
Sechskantgröße30 mm (see Drawing legend J)
Fitting Length96 mm (see Drawing legend A)
Anschluss 1 TypHose
DivisionPolymer Hose Division Europe
TechnologieFluid & Gas Handling
KonfigurationHose to Port
ProdukttypUltra-High Pressure Fittings
BeschichtungChromium 6 Free-plated
FormElbow 45°
AnschlusstypDKOS
Erfüllte SpezifikationenISO 12151-2 – SWE 45°-S
Rohraußendurchmesser16 mm
Größe Anschluss 2M24x1.5
Connection Length53 mm (see Drawing legend B)